答:目前,液晶彩电开关电源的型号命名并无统一格式,其命名方法由电源板生产厂家自行定义。一般来说,在电源板的正面的空隙处(通常在靠近四边的位置)印有型号与版本号(部分产品没有版本号),如图1所示,“JSK 3400-001”便是该电源板的型号,“REV:1.1”表示该电源板的版本号为1.1。
还有一些电源板,不仅标有型号,还标有输出电压及最大电流等参数,如图2所示。在该标识中,“Model No”就是表示型号的意思,即该电源板的型号为FSP488-4F01;“AC Input”表示交流电输人参数,“DC Out put"表示输出的直流电压参数,“+24VI-15.0A"表明该电源板输出的“+24VI'这组+24V电压的最大输出电流为15A。
在一些电源板上出现有多个型号,这是因为该电源板的印制板可加工成多种型号的电源板。为了说明这块电源板是何种型号,往往会在对应型号标识前加上标记。如图3所示,该电源板上即标有FSP282- 4F01、FSP277-4F01及FSP242-4F01三个型号,这说明该印制板可制成上述三种型号的电路板,当然这三种型号电源板上的某些元件或元件参数有所不同,以适应不同的功率及输出电压要求。本图中仅在“FSP277-4F01”前涂有一个小黑点,则表明该电源板型号为FSP277-4F01。
问2:液晶彩电的开关电源由哪几部分组成?
答:液晶彩电的开关电源主要由市电输入电路、PFC(功率因数校正)电路、待机电源电路与主开关电源电路组成,如图4所示。
市电输入电路的主要作用是滤除市电电网中的高频干扰,同时也起到阻止电视机工作时产生的干扰窜人市电电网,其特征元件是起共模抑制作用的电感,如图5所示。
PFC电路的作用是将整流滤波所得到的300V脉动直流电升到380V~400V,以提高电能利用率,有效地提高电路的抗干扰能力。该电路的特征元件是PFC储能电感、+400V滤波电容及PFC开关管等元件,如图6所示。
待机电源(又称副电源)电路是接在待机状态下为CPU提供电压的电源电路,其输出电压一般为+5V,为了区别于电路中的其他+5V电压,常将其标注为+5VSB或+5VS。只要接通电视机的电源,待机电源电路便工作,此时CPU、遥控、按键等电路进入工作状态。由于待机时,电路所需的工作电流较小(通常小于0.8A),即待机电源电路的功率较小,其开关变压器及开关芯片的体积均较小,如图7所示。
主开关电源电路是指给背光灯驱动板、逻辑板、信号处理、伴音等电路供电的电路,是整机的主要能量供给中心,其特征元件是个头较大的开关变压器(可以有多只)与开关管,如图8所示。
问3:液晶彩电开关电源的工作流程是什么?
答:虽然液晶彩电开关电源的具体电路组成多种多样,输出电压值也不尽相同,但工作流程基本相同,如图9所示。
接通电源后,副电源先工作,输出+5V电压(常称为+5VSB或+5VS),供给信号板的CPU及遥控与按键电路,此时整机进入待机状态;二次开机后,三极管Q1导通,输出Vcc电压(通常为+14V~+20V),供给PFC芯片及主电源PWM芯片(在许多电源中,这两块芯合二为一),PFC电路工作,将+300V脉动直流电压升至约+380V的直流电压,主开关电源脉宽振荡器开始工作,这时才输出+5V、+12V及+24V电压,部分机还输出+14V或+18V电压,整机进人正常工作状态。
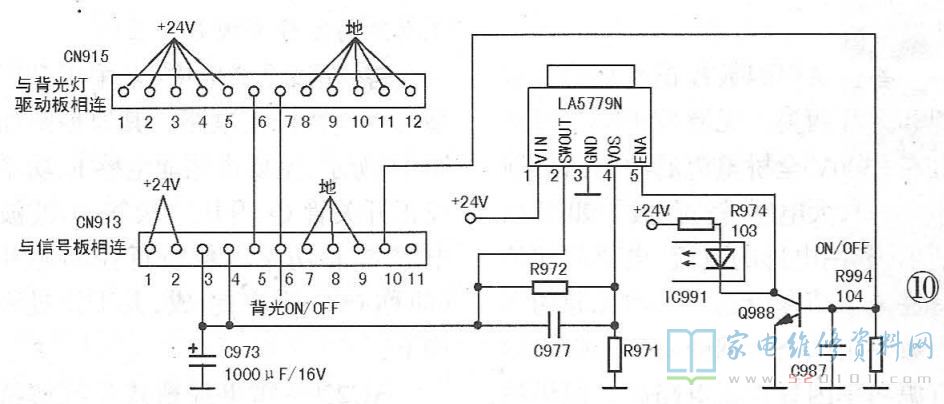
值得一提的是,也有少数开关电源的工作流程与上述有所不同,尤其是进口液晶电视,例如飞利浦32TA2800液晶彩电,接通电源后,该电源板上插座CN915的①脚~⑤脚和CN913的①、②脚输出+24V电压,分别送往背光灯驱动板及信号板,如图10所示。
信号板上的DC/DC变换IC将输人的+24V电压变换成低压,供给CPU及遥控接收电路,整机处于待机状态;二次开机后,CPU输出一个高电平开机信号,LA5779N工作,稳压后从②脚输出+12V电压,送往信号板,信号板上各电路开始工作,随即CPU输出背光灯“开”信号(高电平),背光灯点亮,整机进人正常工作状态。
问4:液晶彩电的开关电源与普通彩电的开关电源有何不同?
答:尽管液晶彩电的开关电源与普通彩电的开关电源有很多相似之处,但也存在许多不同,除输出电压不同外,还主要存在以下几点不同:
1.大部分普通彩电开关电源没有PFC电路
为了提高电源的利用率及电源的抗干扰性能,绝大多数大屏幕液晶彩电的开关电源均设有PFC电路。AC220V市电经整流滤波后,并没有直接送往开关管,而是送往PFC电路,将300V电压升压到380V~400V。因此,电路中所用的滤波电容耐压不得低于450V,如图11所示,而大部分普通彩电没有PFC电路,AC220V市电经整流滤波后得到约300V电压,直接送给开关管,所用滤波电容耐压值为400V。

2.开关管的工作方式有所不同

普通彩电的开关管多采用单管工作方式,如图12所示,开关管是-只三极管或场效应管,+300V电压经开关变压器初级线圈加到开关管c极(或D极),这样的电源大都采用硬开关PWM控制方式,存在开关噪声大,转换效率不高,待机功耗无法达到国际节能标准等缺点。液晶彩电的主开关电源多采用半桥驱动方式,如图13所示,开关变压器的初级线圈接在上下两只开关管的中点,与电容C4一起构成准谐振开关电源,具有电源转换效率高、噪声小待机功耗小(符合国际节能标准)等优点。

提示:硬开关 PWM(脉冲宽度调制)方式是指在功率变换过程中,开关管是在承受电压、电流的情况下接通或断开的,即开关管在开通和关断的瞬间处于大电流或高电压状态。这种方式不仅让开关管在接通和关断的过程中会产生较大的损耗,即所谓的开关损耗,还会激起电、路分布电感和寄生电容的振荡,带来附加损耗并产生电磁干扰,因此其工件可靠性差、效率低、电磁干扰严重。
硬开关PWM (脉冲宽度调制)方式巳经不能适应技术进步的要求,正逐渐被效率高、稳定性强、电磁干扰(EMI)低的软开关电源所取代。软开关电源的开关管在开通或关断的过程中,加于其上的电压为零(ZVS),即零电压开关,或是通过开关管的电流为零(ZCS),即零电流开关。这种开关方式显著地减小了开关损耗与开关过程中激起的振荡,可以大幅度提高开关频率,为开关电源小型化、高效率创造了条件,是当前主流的开关电源方式。
3.待机时的工作状态有所不同
普通彩电的开关电源在待机时,开关管在一个工作周期内的导通时间缩短,各组电压仍有输出,但各组输出电压大幅下降,一般为正常值的1/3~1/2。当然,也有少数普通彩电的开关电源采用切断行振荡电路供电的方式来实现待机。液晶彩电的开关电源在待机时,仅副开关电源(或待机电源)工作,而主开关电源不工作,其具体控制流程见“问3”。
问5:什么是功率因数(PF)和功率因数较正(PFC)?
答:功率因数(PF)是指交流输入有功功率(P)与输人视在.功率(S)的比值,即PF=P/S=y.cosp。y为输人电流失真系数,y值越低,表示输入电流谐波分量越大,对电网的污染越严重(特别严重时,会造成三相四线制中线电位偏移,致使用电电器设备损坏)。cosp为基波电压与基波电流之间的相移因数,其值越低,表示用电电器设备的无功功率越大,设备利用率越低,导线变压器绕组等损耗越大。
功率因数校正(PFC)实质是提高功率因数,具体实施方法是使输人电压与输入电流同相位,即让交流输入电流波形完全跟踪交流输人电压波形,使输入电流波形呈正弦波,并且和输人电压同相位,此时作为负载的整流器可等效为纯电阻。
问6:功率因数校正电路分为哪几类?

答:功率因数校正电路分为有源和无源两类。无源校正电路通常是在+300V全桥整流滤波电路之前串人一只大电感进行滤波,如图14所示,利用电感的电流、电压的相位特性进行功率校正。虽然无源功率因数校正电路得到的功率因数不如有源功率因数校正电路高,但仍然可以使功率因数提高到0.7左右,因而广泛应用在中小功率电源中,在部分液晶彩电中也有应用。有源功率因数校正(Active Power Factor Correction, 简称APFC)是在整流桥和滤波电容之间加一级用于功率因数校正的功率变换电路,主要由校正控制芯片、功率校正开关管和储能电感等元件组成,其特征元件是一只外形像开关变压器的储能电感,如图15所示。该电路的作用是让输人电流为正弦波,使电源的功率因数接近1。

在有源功率因数校正电路中,由于变换器工作在高频开关状态,具有体积小、重量轻、效率较高、输人电压范围宽THD (谐波失真)小和功率因数高等优点,因此在液晶彩电中得到了广泛的应用。
问7:液晶彩电常用功率因数校正电路的工作原理是什么?

答:在液晶彩电中,常采用升压型功率因数校正电路,其原理图如图16所示,主要由储能电感L、功率校正开关管Q升压二极管D、滤波电容C及功率因数校正控制芯片(简称PFC芯片)组成,其工作过程如下:
AC220V市电经桥式整流滤波后,得到约300V的脉动直流电压,送给功率因数校正电路。当功率校正开关管Q导通时,电流流过储能电感L,电流线性增加,电能以磁能的形式储存在电感L中。在此期间,二极管D截止,电容C放电为负载提供能量。当功率校正开关管Q截止时,由于L中的电流不能突变,于是在L中产生约80V~100V左-右+的感应电压,与输入的+300V电压串联,即以380V~400V的输出电压通过D向电容C和负载供电。经过几个周期后,电容C两端的电压稳定在380V左右。
PFC芯片对输入的300V脉动电压与输出的PFC电压进行比较,让输入电流平均值自动跟踪直流电压的基准,通过一定算法的计算后输出PFC开关脉冲,送往开关管Q的栅极,控制Q的导通时间,以保持输出电压稳定,从而实现恒压输出和提高功率因数的目的。
这种PFC电路的优点有:1.输入电流完全连续,并且在整个输入电压的正弦周期内都可以调制,因此可获得很高的功率因数;2.电感电流即为输入电流,容易调节;3.开关管Q栅极驱动信号地与输出共地,驱动简单;4.输入电流连续,开关管的电流峰值较小,对输入市电电压变化适应性强。
问8:液晶彩电电源如何带假负载进行检修?
答:液晶彩电的开关电源可以单独进行检修,但为了判断其工作是否正常,检修时应带上合适的假负载。在普通液晶彩电中,+24V电压为开关电源的主要负载,一般选用35W~60W/36V的电动车灯泡,也可选用30W/24V的汽车灯泡。若无该类灯泡,也可选用一段阻值在5Ω~10Ω的电炉丝作假负载,但要注意的是,在正常工作时,电炉丝温度会迅速升高,应将电炉丝远离易燃物品放置,并且在移动时要防止高温伤人。
由于部分液晶彩电的开关电源需在+5V或+12V(或+14V)电压接上负载,+24V电压才会有输出,因此在实际检修时为避免这种情况出现,可同时在+5V和+12V电压均接上假负载。这类假负载的阻值一般选在20Ω左右即可,一般选用阻值约20Ω、功率为5W~10W的电阻,或选用5W~15W/12V的灯泡。
提示:在实际维修中,若用100W~200W/220V灯泡作为+24V电压的假负载,不能判断+24V电压的带负载能力;若用摩托车的大灯(35W~50W/12V)作为+12V电压的假负载,因+12V电压负载过重,易导致开关电源进入过载保护状态,从而无电压.输出。综上所述,在单独检修液晶彩电开关电源时,一是选用一只1k2~2.2k的电阻,将电源板.上的开/关机端与+5VSB端相连(对于低电平开机的,与地相连),以实现强制开机的目的;二是分别在+24V及+5V、+12V输出端上接上相应的假负载,如图17所示。

问9:电源、高压二合一板(IP板)有何特殊之处?
答:顾名思义,这种板就是将原来分开的开关电源板与高压板合做在一块板上,如图18所示。由于这种设计能有效降低成本,故在近年生产的液晶彩电中得到了广泛应用。
从图18中不难看出,该类电源板的开关电源部分与分离式的液晶彩电开关电源组成相同,主要由PFC电路、主开关电源电路及待机关电源电路组,成,其开/待机同样受信号板控制。若对比主开关电源次级输出电路,会发现IP板的整流滤波元件少了一些,主要是无大电流的+24V电压输出,仅有+12V及+5V电压输出,这是为什么呢?
分离式的液晶彩电开关电源输出的+24V供电主要供给高压板的功率驱动电路,如图19所示。
由于这部分电路的功率较大,故要求开关电源输出的+24V电压的功率足够,则对应的整流滤波元件较多。
在IP板中,高压板的功率驱动电路供电改由PFC电路输出的PFCB+电压(+380V~+400V )提供。这一改动,对于主开关电源而言,不需要再输出大电流的+24V电压,整个输出功率大幅下降,开关变压器及整流滤波元件减少。对于高压板的电路而言,因PFC B+电压为热地,而高压激励电路及高压输出电路均为冷地,为了解决这一问题,则功率驱动电路与激励电路、高压输出电路之间均采用变压器耦合方式,相关电路如图20所示。

综上所述,IP板的特殊之处在于:高压板上的功率驱动电路的供电直接由PFC电路提供,电压为+380V~+400V(热地)。因此,检修IP板上的背光灯驱动电路时一定要注意区分冷热地,以免损坏仪表或电路元件。
答:与普通彩电的开关电源相比,液晶彩电开关电源并无多少特殊之处,但由于受待机功耗、输出电流及安装空间等因素影响,液晶彩电开关电源板多采用双层印制板,并且在部分元件的型号选取上与普通彩电有所不同。
1.圆柱形保险管
普通彩电由于设有消磁电路,一般采用3.15A/250V 的延时保险管,而液晶彩电一般采用4A/250V或5A/250V的普通保险管,部分机器采用圆柱形保险管,外形像一只电感,如图21所示。
2.开关管液晶彩电电源电路的开关管采用大功率场效应管,其安装位置有两处:一是PFC电路中的开关管,其位置一般靠近整流全桥或+400V滤波电容,如图22所示;二是主开关电源的开关管,一般采用半桥驱动方式,即有两只开关管,其位置一般靠近主开关电源变压器,如图23所示。
PFC开关管的最大电流要求较高,通常情况下,26 32英寸液晶彩电为20A,一般选用20N60型场效应管(最大电流20A,最高反压600V),如图24所示;37、42英寸液晶彩电一般选用32N60型场效应管(最大电流32A,最高反压600V),如图25所示;而对于46英寸及其以上产品,在板上设计有两只开关管并联的焊盘,如图26所示,多采用两只20N60(或32N60)型场效应管并联。当然,部分46英寸以下彩电的PFC电路中,也有采用两只开关管并联的设计。
部分电源的副开关电源也采用外置开关管的形式,由于副开关电源功率较小,则开关管选用8N60型场效应管即可。
提示:液晶彩电所用开关管的型号较多,但在实际维修中,均可按上述型号进行代换。另外,开关管损坏后,多表现为D、S、G极间击穿。若PFC开关管击穿,易连带烧断保险管。
3.整流二极管
由于+24V及+12V电压的工作电流较大,尤其是+24V电压,故对整流二极管要求较高,普通彩电所用的整流二极管已不能满足其功率要求,一般选用TOP220封装带散热片的低压差大功率肖特基二极管,如图27所示。这类肖特基二极管的正向压降不足0.2V,如图28所示,远低于普通整流二极管的压降(约0.6V)。这类二极管内置有两只二极管,两侧的引脚分别为两只二极管的正极,中间引脚为二极管的负极,如图29所示。
在实际维修中,对于37英寸及其以下产品的输出电压整流二极管可换用MBR20100型二极管(最大电流20A,反向最大电压100V),对于37英寸以上产品的输出电压整流二极管可换用MBR40100型二极管(最大电流40A,反向最大电压100V)。若没有MBR40100,可用两只MBR20100并联代替。
4. 电流控制型脉宽调制芯片UC384XUC3842~UC3845系列脉宽调制芯片本不是什么特殊元件,在普通彩电、彩显及其他电器的开关电源中大量采用,在本处之所以把它列入液晶彩电开关电源的特殊元件,主要是指由该系列芯片构成的降压电路较特殊,-般用于将主开关电源输出的+12V电压降压成+5V ,供给信号板。该降压电路位于开关电源次级,如图30所示。
这种降压电路的特点是,+5V电压是在主开关电源输出+12V及+24V电压后才产生;当+12V 或+24V电压负载有问题,导致+12V 或+24V电压过低时,则无+5V电压输出,这时信号板(有待机电源提供的+5VSB电压)处于待机状态,无法进人到正常的开机状态中,从而起到保护作用。下面结合具体电路对其降压原理进行分析。
提示:UC3842~UC3845中各芯片仅工作电压与输出脉冲的最大宽度有所差异,引脚功能相同:①脚是误差放大器的输出端,外接阻容元件,用于改善误差放大器的增益和频率特性;②脚是反馈电压输入端,此脚电压与误差放大器同相端的2.5V基准电压进行比较,产生误差电压,从而控制脉冲宽度;③脚为电流检测输入端,当该脚电压超过1V时,则缩小脉冲宽度,使电源处于间歇工作状态;④脚为定时端,内部振荡器的工作频率由该脚外接的阻容元件时间常数决定;⑤脚为公共地端;⑥脚为推挽输出端;⑦脚是直流电源供电端,具有欠、过压锁定功能,芯片功耗为15mW;⑧脚为5V基准电压输出端,有50mA的负载能力。
5.降压IC
值得一提的是,在这些降压IC中,一类输出电压固定,其值常标注在型号后,如型号为LM2576-5.0,则表明该IC输出电压为+5V,电路如图33所示;另一类输出电压不固定,具体值取决于反馈(FB )端的电压,如LM2576ADJ型IC,输出电压取决于④脚外接电阻R1、R2的比值,如图34所示。
部分液晶彩电开关电源采用常见的运算放大器LM358、LM324组成电压比较器,主要起欠压或过载保护作用,如图35所示。
LM324内含四个独立的运算放大器及运算补偿电路,差分输入,工作电压范围为3V~32V,有DIP-14及sOP-14两种封装形式,内部框图如图36所示;LM358内含两个独立的运算放大器及运算补偿电路,有DIP-8及sOP-8两种封装形式,内部框图如图37所示。在两个信号输入端中,Vi-(-)为反相输人端,表示运放输出端Vo信号与该输入端的相位相反;Vi+(+)为同相输入端,表示运放输出端Vo信号与该输人端的相位相同。
由LM358、LM324组成的电压比较器的IC特点是,只要两相输人端电压相差0.04V,输出状态就翻转,即当同相输人端( +端)电压高于反相输人端( -端)电压时,比较器输出高电平;反之,则输出低电平。下面以LM324为例,结合电路具体分析其保护过程。
同理,当+5V电压负载过重时(常为信号板出现过流情况),+5V电压下降,即LM324的⑨脚(反相输入端)电压下降,而此时由于电容C41、C43及电感L5、L6的滞后性,B点电压基本不变,则LM324的10脚电压高于⑨脚电压,于是LM324的⑧脚(输出端)输出高电平,二极管D22导通,主开关电源停止输出。
问11:换用不同型号的电源板时应注意什么?答:由于不同型号的电源板结构及输出电压不尽相同,因此在换用不同型号的电源板时,在安装位置许可的情况下,还应注意以下两点:
1.输出电压及功率
在小屏幕液晶彩电中,有采用外置+12V电源适配器的,如图39所示,也有将输出+12V电压(部分机还有+5V电压输出)的电源板置于机内的,如图40所示,也有将背光驱动电路与开关电源电路同安装在一块板上(常称IP板)的。这类开关电源电路较为简单,大多数故障均可通过换件来修复。若实在难以修复,可换用输出电压相同、功率稍大的外置电源适配器或开关电源板。若是IP板,应先切断原开关的AC220V输入线及开关电源次级电压输出端,再把新购的开关电源板电压输出端接到相应点上,然后接上来自信号板的开/待机控制线及AC220V进线即可。
提示:在估算+24V电压的带负载能力时,可按“1A电流带3根灯管”的比例进行粗略计算。由于大多数液晶彩电的主板(含高频头、解码及伴音功放等电路)需要+5V及+12V供电,这就要求电源板除输出电流足够的+24V电压外,还应有+5V及+12V电压输出。+5V及+12V的最大电流应从两个方面考虑,一是信号板自身的耗电,所需+5V电压的电流约为800mA,所需+12V电压的电流约为100mA;二是通过信号板给屏供电(即常说的上屏电压)的耗电,由于大屏幕液晶屏的上屏电压主要有5V和12V之分,经过实际测量,若为+5V供电的屏,其上屏电压电流约为550mA;若为+12V供电的屏,其上屏电压电流约为300mA。
另外,对于伴音功放电路的供电,部分通用信号板采用数字功放电路,如图41所示,采用+24V供电;部分采用普通功放,如图42所示,用+12V供电。若采用+24V供电其最大电流可考虑为1A;若为+12V供电,其最大电流可考虑为2A。
综上所述,代换电源板时,新电源板的输出电压应与原电源板一致,且各组电压的输出功率足够,例如一款换到37英寸海信液晶彩电上的电源板,其输出电压参数标注如图43所示。
2.开关电源的控制方式
大多数液晶彩电电源板在待机时输出+5VSB电压,接收到主板送来的开机信号后,电源板才输出+5V、+12V及+24V电压。液晶彩电电源板所需的开机信号多为高电压(3V~5V),但有部分开关电源所需的开机信号为低电平(OV),如康佳STA200TV, Ver:A3型液晶彩电电源板。因此,在换用电源板时,在功率与输出电压符合要求后,还要看主板待机时所需电压是否仅为+5V,如部分开关电源的+5VSB与+5V电压取自变压器的同一绕组,且同时输出,若换用此类开关电源,部分主板会出现二次开机困难故障;同时还需注意主板输出的开/关机电平与开关电源板所要求的是否一致,若不一致,则需增加一-级反相电路。
问12:在液晶彩电电源板中,哪些芯片可以相互代换?答:在液晶彩电的开关电源板中,部分待机电源的开关电源芯片及DC/DC变换芯片是可以代换的,其直接代换型号见表1 。
网友评论