杜比解码影音前级是组成家庭影院的核心音响单元,CYMET(绅士)DSP E1080影音前级的许多用户都想对其电路特点及组成有进一步的限了解,以便更好地使用及维护。本文介绍该机的原理使用及维修,同时提供一些常见故障的维修实例。 
    E1080PK为E1080的合并机型,带有100W×2的左右主声道功放和数码卡拉OK功能,其余电路完全与E1080相同。


一、工作原理 

    DSP E1080是一台多功能影音前级,它主要的功能有:(1)音频前级:主要用于聆听Hi—Fi音乐,不作任何音效处理,具有4组音视频输入,(2)杜比解码:这是采用杜比公司CP55专业合成解码器的原理及器件生产的合成式4—2—4杜比解码器,用于欣尝四声道杜比立体声电影,这是该机的主要功能,(3)DSP音效处理:这个功能主要用于使普通双声道立体声变为具有特定效果的三维立体声,如音乐厅、体育场等。是一种模拟多声道立体声。(4)功率放大器:E1080设有30W×2的中置及环绕功放,配合一台普通双声道后级功放即可组成家庭影院,E1080OPK自带主声道功放,不用另配功放。 

DSP E1080的电路由主要功能单元电路一些辅助电路组成,整机原理框图见图1.1,该机的主要技术指标见表一,下面介绍各部分电路工作原理。 

1.音频前级部分:电路见图1.2,这部分电路包括输入切换电路,10dB线路放大,高低音调节及音量平衡控制。 
    输入电路由继电器JR3-JR11组成,共设有4组音频输入,2个视频输入,输入端的分配为VIDE01、VIDE02、CD、TAPE,其中VIDE01、VIDE02为音视频同步切换,由电子逻辑电路提供轻触控制信号。经继电器选通后的信号经音量,平衡调节电路进入由IC301及外围件组成10dB线路放大器,经预放后进入由IC302组成的负反馈式高低音调节电路。为满足Hi—Fi及AV兼顾,高低音调节设计范围达±14dB,可以适应不同口味的听音者,音频前级输出信号分别送入杜比解码电路和DSP电路,当该机处于直通时,则直接输出,不再经任何处理电路请参见图1.1。该部分电路选用了被称为运放之皇的运算放大器NE5532,故音质很好。 


2.DSP处理电路:DSP是一种模拟三维立体声处理电路亦称数码声场处理,它的原理是将普通双声道立体声信号经特殊处理后变成多路信号,即增加一路或多数环绕信号,通过不同的处理及控制信号比例可产生类似音乐厅、体育场等效果,目前最好的DSP产品是YAMAHA公司的,但其价格昂贵,而一些简单的移相加减处理则效果又太差,从成本与效果综合考虑,E1080选用了日本NEC公司生产的专用声效处理集成电路C1891A;该电路的特点是模拟效果好,集成度高,使用简单,电路见图1.3。左、右声道信号由IC303的⑧、⑨脚输入,经处理后变为新的左、右、环绕三路信号。该电路可以选择四种音色,即原音(SD)、音乐厅(HALL)、影院(MOVIE)、体育场(STADIUM)由11、12脚的电压组合控制,控制电压CONA、CONB由电子逻辑电路提供,C1891A的另一个特点是设有效果调节装置,通过DSP电位器控制(13)脚电压可改变模拟效果,在使用中可根据自己喜爱调节到合适位置。图中IC304(LM7805)提供DSP调节所需的5V参考电压。

3.杜比立体声解码电路:家庭影院中所使用的声频制式是杜比立体声,因为目前的立体声电影均采用杜比立体声录制,(少数单声道电影及特殊效果的多声道电影除外),所以必须使用杜比解码电路才能恢复出杜比立体声,杜比立体声是一种具有真实现场感和方位感的四声道立体声,不能使用模拟立体声装置来处理,否则会声像错乱。已混合为双声道的杜比立体声的四个声道分离比较困难,一台好的解码器要既分得开(用分离度来衡量)又不能损失原有信号(听音评价)。解码技术经过多年的发展,已较为成熟。杜比解码电路目前主要有两类,一类是以自适应压控矩阵为核心的压控解码电路,这类电路绝大多数的单片式集成电路,如LA2770、M69032P、SSM2125等,属普及型解码电路,仅用于中低档家用产品中,当然有的文章称这些电路为专业水准的解码电路。解码电路的另一类是以合成运算为核心的合成解码器,这类解码器多为专业产品或顶级产品中使用,如杜比公司生产的CP55、CP65等专业电影院合成解码器,合成解码器的优点是声场饱满,分离度好、不损失信号、听感极佳,压控解码器声场单薄,由于信号细节丢失多,听起来声音较闷(有关合成解码及压控解码的原理请参阅有关文章)。 

E1080机的设计定位选用合成解码方法,由于合成解码器电路复杂,这里仅给出原理框图(图1.4)。合成解码的核心是合成运算网络,每个声道一个网络,这些运算网络的参数是严格按杜比解码方程计算,精度极高,例如中置声道的合成运算网络如图1.5,可以看出,合成一个中置声道需10个矢量指示,其中两个为杜比原始复合信号RT、LT,其余8个是由合成信号发生器根据原始信号中各声道信号的瞬时矢量而产生的一组抵消矢量信号,在合成运算网络中把杜比复合信号RT、LT中与中置声道无关的信号抵消掉,从而恢复出中置声道信号。从理论上讲,这种合成相消的分离度可以达无穷大,但由于各方面误差,一般仅能达45dB左右。

框图R2、、LT输入的解码矩阵至合成信号控制电路的作用是提取复合信号中各声道的矢量信号,使合成信号发生电路能按要求产生合成信号。由于元件的精度无法绝对一致,故这些矢量信号需经比例调节电路进入合成信号产生电路,由于各矢量互相牵制,调节非常困难,必须借助仪器及经验丰富的调试人员,这也是合成解码器大量生产的难点之一。中置模式控制电路的作用是提供几种常用模式,如标准、幻像,实际使用应尽可能选用标准模式。以上这一系列电路都属高精度运算电路,由于目前的集成电路制造工艺对电路中制造的阻容元件精度不够,所以尚不能完全集成化,高精度阻容元件必须使用仪器挑选,因而合成解码器的生产难度较呔,对生产设备的依赖性较强,制造成本也较高。 
    超低音电路提取四个声道中低于80Hz频率成份供有源超低音箱使用。 

 4.中置、环绕功率放大器:听杜比立体声至少需4路功率放大器,考虑到一般用户所拥有的Hi—Fi功放都是双声道,为方便用户,E1080机设有2组功率放大器,电路见图1.6,功放采用保真度高、听感评价极佳的LM1875集成电路担任,该电路可输出30W×2的有效功率,足以满足家庭听音乐需要。功放采用OTL方式工作,以避免出现意外的直流输出烧坏贵重的中置和环绕音箱,J1、J2为开机延时启动继电器,避免了开关机时对喇叭的冲击。 

5.功能切换电路:这部分电路的作用是提供各路音源输入的轻触切换、指示及DSP的音效选择轻触操作和电压信号,电路原理图见图1.7。IC703A—IC703D组成了一个4位电子轻触互锁开关,每一位输出接有相应电子开关,由T5、T8、T9、T10组成,当某一晶体管基极得到信号后导通,则相应继电器吸合,从而达到选择输入信号的目的,同时该机电路设有档位指示灯,操作非常方便。电子轻触开关的原理是某一开关按下后,+12V电压送到各电压比较器(一)端,使各开关强制复位到低电压,而被操作的电压比较器(+)端电压始终高于(-)端,通过反馈后即锁定于高电压输出状态,预置A是由电源开关电路送来的予置脉冲电大,使IC703A开机自动处于开的状态。 
    IC702组成的DSP音效选择电路与上述电路基本一样,只是它的作用是用来选择DSP的四种音效,所以在执行电路上有区别,T701、702组成了电子控制电路,根据开关电路送来的不同电压使T701、T702分别处于导通或关断状态,从而得到DSP电路所需的CONA、CONB电压,各音效时的CONA、CONB电压值请见图1.3。 

6.电源开关电路:该部分电路主要提供电源开关的轻触开关操作和建立开机后的初始状态,见图1.8。 
    IC701(MC14013)为D型触发电路,与外围件组成一个自锁开关电路,开时由①脚输出高电压+12V,关时①脚为低电压0V,在输出端接有电源指示LED,当整机接通电源后,开关被予置在关状态,LED发光,一般称为预备指示灯。开机后LED熄灭。C703为复位电容,用于机器通电时自动预置在关状态。 
    当电源开关置于开状态后(IC701)①脚输出高电压,提供以下控制:使T704导通,整机+12V电源供电,T1由G地R1、C1组成的延时网络延迟后导通驱动J1、J2吸合使功放输出接通,T703得到+12V供电后,由R701、C701组成延迟网络,使T703产生预置A、预置B脉冲,供轻触开关电路提供开机初始状态之用。 

7.电源供应:提供整机所需各工作电压,原理图见图1.9,E1080共有四组供电:+12V、-12V、+15V、+50V。其+50V为中置、环绕功放电源,直接经整流滤波后提供,其余三个电压分别由IC10、IC11、Ic12三块稳压集成块提供。 
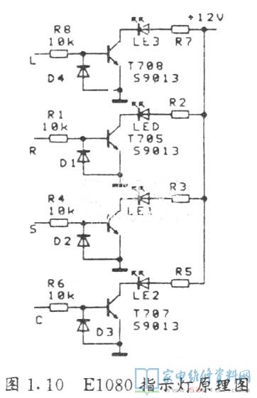
    8.指示灯电路:共设有4个指示灯,分别指示左、中、右环绕声道的信号电平,电路见图1.10,这是完全相同的4个驱动电路,以中声道为例,当有信号时,由D、T构成整流电路,当信号达一定强度时,T导通,相应指示LED发光。电路设计点灯电平为-3dB,这几个指示灯的作用主要用于观查各路信号的工作情况同时也在配接器材时方便调整。 


二、使用 
    杜比解码器的使用大家都比较熟悉,本文要谈的是有关E1080使用中的一些特殊及特别需注意的问题: 
    1.平衡问题:听杜比立体声要求解码器的信号平衡性要好,多数影碟机都能满足要求,少数改装机信号平衡不好,导致解码出现偏差,这时需调整E1080的平衡电位器,使中置信号对其它声道串音最小。当然,一般情况下平衡电位器应图1.10 E1080指示灯原理图置于点位置。 

2.电平调节:杜比系统一般都有较严的电平要求,如与所要求电平相差太远,则解码效果将受影响,E1080机在电平为-3~0dB时为最佳,也即指示灯刚点亮,正常听音时应以此为参考,个别影碟机输出太弱,无法点亮指示灯,这时可参考维修一章适当调整E1080的前级增益。 
3。环绕音量调节:杜比立体声中的环绕是真实信号,有则有,无时则无,不像模拟环绕声,其环绕声道一直都有声音,故调节时应在有环绕信号时调节,如强行开大环绕音量则只会带来串音(这是许多初玩AV的烧友容易出现的通病),听一些纵向行动声极易调好。如飞机从前到后飞过的效果。 
4.超低音信号的使用:E1080的超低音输出是已处理好的超低音线路信号,接普通功放即可使用,无需再加滤波器。 
5.环绕音箱的最佳接法:E1080的环绕功放为30W,系在8Ω负载下测试,由于E1080的两组环绕输出为串联,固应选两个4fl的环绕音箱最佳,如采用两只4Ω的环绕音箱最佳,如采用两只8Ω环绕音箱则会减少一半的功率,这时应采用并联接法,把两只8Ω箱同时接在环绕功放输出的①③位置。 
6.中置音箱的使用:E1080是合成式解码器,其中置声道信号极为丰富,故应选用频响宽、灵敏度高、失真小的中置箱,否则听音效果会大减。有条件可配E1080的专用中置箱(型号为CX-1000),可达最佳匹配效果。 
7.与后级的配接:原则上讲,E1080可配接各种后级,但实际配接中由于不同后级的输入阻抗,灵敏度不同,会产生一些意想不到的问题,如自激、增益不足等,建议使用标准输入阻抗47kHzΩ,灵敏度500mV左右的产品,为方便调节,一定选用带有音量控制的后级。没有后级的用户也可直接选用自带后级的E1080PK型机,该机后级功放的输出功率为100W×2(RMS)。 
8.注意供电电压为220V±10%,如电压太高或太低机器工作将不稳定。 


 三、维修
    E1080机设计合理,工艺布局简洁,再加之该机为机械手插件,波峰焊接,故可靠性比一般手工装配机要高得多。 
    E1080的故障主要有以下几类: 
    1.系统控制类故障,多表现为无法操作或误操作。 
    2.无声类故障,多表现为完全无声或某一个声道无声。 
    3.噪声类故障,此类故障要复杂一些,表现形式也较多。 

下面结合具体维修实例加以介绍,首先应了解E1080机的各主板功能。请见图3.1。


本机主板由7个部分组成,各部分组成简介如下: 
 ①环型变压器  

②中置环绕功放 

③杜比解码板及信号输入选择电路

④音视频1组输入  

⑤DSP效果调节及环绕音量调节

⑥轻触开关及指示灯

⑦前置放大。音调调节及DSP电路 

此机各部分印板元件安装图请参见图3.2-图3.7。 
    故障一:现象,通电后,所有指示灯不亮,各声道输出无声。 
    分析;一般这类故障出在电源上,用万用表来测试变压器次级无输出,经查为变压器初级引出线由于变压器松动而拉断,固定好变压器,焊好初级引线后一切恢复正常。 
    故障二:现象,接通电源后,电源预备指示灯亮,按电源键不能开机,预备灯不灭。 
    分析:指示灯亮说明供电基本无问题,电源键按动时无动作,故障范围应在电源轻触开关系统,首先测量IC701 14脚电压应为+12V(参见图3.6),人为短路电源轻触开关(POWER),仍无动作,说明开关无问题,故障应为IC701损坏或复位电容C702损坏,更换C702后,故障排除。 
    故障三:开机正常,但输入切换功能开关无法切换,功能键指示灯一直处于开机的位置。 
    分析:该故障明显属于电子轻触开关系统。功能切换轻触开关由IC703及外围件组成4个互锁电子开关,(参见图3.6),开机予置功能,说明IC703无问题,其余三个键均不能操作多为复位电压没有,开关同时损坏一般不可能,经查开关上无+12V电压,经仔细观查为供电跨接线A49的印板铜线断,焊好后恢复正常。
    故障四:在各种工作状态时均只在左、右声道有声,中置、环绕始终无声,但中置、环绕指示灯有指示。 
    分析:有输出指示说明中置、环绕有信号输出,故障一般应出在功放开关机缓冲电路或功放电路上。人为将输出继电器短接通,喇叭有输出,说明功放无问题,无声原因为继电器未吸合,检查继电器驱动晶体管T1基极有电压,说明驱动信号正常,T1损坏可能较大,取下T1测试确属已坏,更换后故障排除。 
    故障五:一台机各功能及声音均正常,但DSP状态时按各音效键均无声音变化,各按键指示灯有相应指示。 
    分析:这个故障一般与轻触电路无关,首先应检查DSP集成电路(IC303)的11、12脚电压是否随开关按动而变化,如无变化,应为CONA、CONB电压产生电路不正常,应重点检查T701、T702等元件是否损坏,本例故障中CONA、CONB电压正常,经查为IC303损坏,更换后正常。 
    故障六:一台机开机后无法操作各轻触按触,各指示灯停留在开机初始状态。 
    分析:这种故障置开机予置电路故障,因开机能予置说明轻触开关电路本身无故障,经测量预置电压A和B开机后一直处于较高电压状态(4.5V),而正常的予置电压应为一个正脉冲电压,峰值为12V,然后降为<1V,估计为预置晶体管T703饱合压降升高所至,更换T703后预置电压正常。 
    故障七:一台机器一切工作正常,但各输出指示灯在任何状态均不发光。 
    分析:这是一个比较常见的问题,它不属于故障。E1080机由于考虑到与多种不同的纯后级功放和合并式功放配合,故前级增益设计较低,以免引起信噪比恶化,但这也引起一个问题就是在标准接口输出电平(-10dB~0dB)的信号源配合时非常好,而与低于-10dB的信号源接口时则会出现信号不足。这种情况对改装VCD机较为明显。由于E1080的点灯电平较高,故信号不足时指示灯不会点亮。这种情况可调整E1080的前级增益,只需改变线路放大的反馈电阻,将R303、R404(参见图1.2,图3.7)由原值4.7k改为20k即可。 
    故障八:一台E1080接上后级功放后,不加信号源时E1080的左右输出指示灯一直发亮,输入信号后,功放输出失真,将E1080与后级断开后,指示灯熄灭,输入信号时显示亦正常。 
    分析:这种现象不属故障,原因是所配接的功放与E1080严重失配所至,如阻抗过大或过小,导致产生自激,使信号失真。解决的办法很简单,只需在E1080的输出与后级输入之间串入一只500Ω左右的电阻即可,左右 
声道各接一只。 
    故障九:一台E1080在杜比解码状态时,始终只有中置声道指示灯有指示,其它声道指示灯不亮,输出声音极轻。 
    分析:这种情况通常不是故障,鉴别办法如下:分别单独输入左声道、右声道信号源,如左、右指示灯发光则说明机器无故障,产生这种中置有输出、其它声道音轻的原因多属使用的影碟片为单声道影片,早期电影和劣质盗版片易发生这种情况。个别改装的VCD机本身输出为单声道也会发生这种情况。因为单声道信号正好与杜比立体声的中置信号性质一致,故经过解码器后只有中置声道有声音。 
    故障十:一台E1080的功能开关置于标准杜比解码档位时,四路扬声器中均有严重交流声,且不受音量控制,其它档拉无交流声。 
    分析:各档工作状态正常,仅杜比解码不正常可以断定故障在杜比解码板上,交流声的产生与输入电路无关系,对交流声一类故障应重点检查杜比解码电路的供电电路。杜比解码电路共有三个工作电压,分别为+12V、+15V、-12V,请参见图3.3,用表测量发现+15V电压偏高达19V,经查为+15V稳压集成块LM7815(IC12)接地脚断,使其无法稳压,接好后+15V恢复正常,交流声消失。
    故障十一:一台E1080白天工作一切正常,晚上7点~11点之间时杜比解码输出有轻微交流声,但仍能正常解码。 
    分析:这种现象不属机器故障,是因为电压波动所至,用表测量解码电路+15V电压输出正常,测量稳压块(IC12)(LM7815)的输入电压发现晚上仅18V,白天为20V以上,由于稳压块正常稳压需有一定压差,3V左右压差会导致波纹系数增加,从而引发交流声,压差大于4V则不会产生这个问题,产生这个电压波动的原因为部分地区电网电压大低,特别是晚上用电高峰,超出了E1080的工作电压范围,故产生交流声。 
    故障十二:一台E1080在CD档输入信号时只有单声道输出,将信号源插在其它输入档位则输出正常。 
    分析:只有一组输入为单声道其余组正常可以肯定故障出在输入电路,E1080的每一组音频输入的左、右声道各有采用一只小型全密封继电器,共用一个电子开关驱动,有一路通说明继电器驱动开关电路无问题,应为继电器有问题。经查,CD档的输入继电器JR6没有吸合,由于该继电器为全密封型无法修复,故只有更换同一型号继电器(规格为4100G)。 
    故障+三:一台E1080的环绕声道的无信号时产生断续杂音,有信号时随着音量变化在某些位置有尖叫声。 
    分析:首先应分析故障现在解码电路还是环绕功放电路,简单的办法是把环绕信号送入中置功放(E1080的两组功放采用同样的插头输入,互换非常方便),如仍有此杂音则属解码电路,否则为功放有故障,经试验确定为功放故障,检查功放电路各直流工作点电压均正常,故障应为交流通道,经检查有关元件,发现电阻R604(10Ω)开路,更换后,故障排除,C603损坏会导致同样故障。 
    故障十四:一台E1080DSP各音效模拟效果不明显,但各音效仍能听出有区别。 
    分析:这种故障是出在DSP音效电路,参见图1.3,首先应检查C1819A的各脚直流电压应符合图示要求。经查发现16脚电压偏低仅1V,取下电容C310,检查已漏电,更换后电压恢复正常。试听DSP效果变化正常。 
    故障十五:一台E1080的中置声道有信号时出现周期性的“嗒嗒”声,出现“嗒”声时信号消失。 
    分析:首先应判断故障是在解码电路还是功放(请按故障十二中介绍的方法进行判断),确定为功放故障,经检查功放集成电路IC及外围件均完好,各直流工作状态正常,用手触摸功放IC501(LM1875)温度很高,而环绕声道功放IC温度正常,仔细观查发现紧固LM1875的螺钉有松动,使LM1875未紧贴散热器,从而导致IC501周期性过热保护,将螺钉拧紧后,LM1875温度恢复正常,故障消失。 
    故障十六:E1080的DSP效果全无,各音效键操作正常。 
    分析:首先应观查DSP效果调节钮是否关死,如已关死则应将其开到适当位置,检查应首先从DPS集成电路的11、12、13脚电压开始,正常情况下CONA、CONB应随音效键的按动而改变,参见图1.3,13脚电压应随音效调节电位器的调整而改变,经查,13脚电压始终为0V,估计为IC304(LM7805)损坏,更换后,电压正常,故障排除。