电子管(胆)与晶体管(石)相比较,具有许多突出优点。由于历史和人为的原因,使电子管这颗曾享“无线电心脏”盛誉的“烧器明星”一度被冷落,致使一些“烧界初哥”及未入此“道”的电子爱好者对电子管比较陌生。本文通过对胆机维修常识的粗浅介绍,力图使大家悟出一点胆机“维修之道",权做是一块步入“胆世界”的敲门砖。
一、维修常识
1、维修步骤:
(1)“病”机当前,先要通过“望(看)、闻(听和嗅)、问(问用户故障发生前后的异常现象)、切(检查相关部位)。通过上述69“望、闻、问、切”四诊法,查明故障的全部表象;
(2)根据原理电路图认真分析故障原因;
(3)根据分析的“病因”,借助电子仪表或其它手段确认“病灶”并予以修复;
(4)调整、试听
2.故障类别
(1)全无声
(2)声音低弱
(3)声音忽强忽弱、时有时无
(4)啸叫(高频)和汽船声(低频)
(5)50Hz交流声
(6)杂声干扰
(7)声失真
(8)其它故障
3.检修方法:
(1)人体感官法:望、闻、问、切。因为“胆”机用件相对体积较大。分布也比较“松散”,所以用上述“四诊法”常常可以找到“病点”。诸如FU熔断,RLC、断裂、相碰、断路、脱焊,灯丝不亮,元件“起皮”、裂口、脱落、变色,高压打火,超负荷冒烟,变压器过热、生味,机内“喀啦”声和严重失真等,“四诊法”均能有效“诊断”。
“四诊法”是“胆”机最常用的检修方法之一。
(2)敲击法和信号寻迹法:同“石”机。
(3)电测法。
(4)特种检修法:如电容放电法、拔管法等。
4.故障检修概要:
(1)电源:电源是“胆”芯的能源“供应部”,一旦发生故障,就会产生明显的故障表象。如50Hz交流声、全无声(整流无输出)、大失真(电压大跌落)、杂声(电子管、变压器打火)等。
全波整流电源见图1。
①交流声:汽船声和啸叫:这些故障的原因多出在电源滤波电容上,如图1的C1、C2损坏。滤波电容常见的故障有三种:开路(失效)、漏电和短路(含容量不足)。其故障表征如下:
a、C1或C2开路:C1开路的电压特征是+B1、+B2变小(见图1)。此时仍有“扩音”功能,但“哼哼”的交流声不绝于耳;C2开路后,+B1、+B2仍基本正常,但交流声、汽船声和啸叫会同时发生。这是因为C2开路后,未被滤除的50Hz市电及其谐波会进入放大器,从而引起各级间的交连自激,严重时还会出现“间歇阻塞”现象。此时放大器再无“扩音”功能。判断:将胆芯“音量”(VOLUME)调小,若汽船声和啸叫消失,只剩下“哼哼”的交流声,就可断定是C2开路(失效)了。另外,对C1、C2开路的判断还有两种方法:一是“并接法”,即在C1或C2上并接一支容量和耐压值相当(不一定相同)的新电容;若并之故障立刻消失或减弱,则说明被“并”的那支电容已开路(注:并接试验后的电容应进行放电);二是“火花法”:在滤波电容正常时,图1中的M/N点与大底盘(即电容正、负极)间有高电压,若用导线(塑皮绝缘线)将M或N点与底盘间作瞬间碰撞短路时,触点处会发出四溅的强火花,同时伴有清脆的“啪啪”声。如是,则说明被检电容无故障;若火花和“啪啪”声均较弱,且在短路的瞬间喇叭里有“嘟-嘟”音发生,则说明被检电容已经开路(失效)了。(注:此法多用于直热式灯丝的整流管,如5Z1P~5Z3P;对旁热式阴极的小管,如6Z4等,在使用此法时应在导线中串入一支2.2Ω以上的小电阻。因是瞬间短路,所以小电阻的功率无要求。也可以在关机的同时迅速作“火花法”实验,这样会更安全有效。对L滤波的电源,应将L作暂时短路处理,以防过流或瞬间高反压损坏电子管。对无电源变压器的所谓“高淳头”胆芯如图21所示的放大器,不得用“火花法”进行检修。
b、C1或C2漏电:C1、C2漏电除产生交流声外,还时常伴有失真、音小或全无声现象。测量+B1、+B2时能发现电压跌落,漏电越严重,+B1、+B2下降得越多。漏电的电容用万用表R×100档可予鉴定(即常规充放电测量法);另外还可用“切”温法做检查。漏电的电容表面温度会上升;也可用上述的“火花法”检查,漏电严重的电容,其表现同开路。
c、C1或C2短路,C1、C2短路会损坏整流管和保险丝;C2短路还会烧坏滤波电阻R。所以对全无声的胆芯做检查时,如发现上述元件损坏,则应先检查c1、c2,看有无短路发生(用电阻测量法即可)。如整流管未损坏,当开机后发现其屏极发红或整流管内有蓝光或打火,也是C1、C2短路的表征。
②杂音:杂音产生的原因很多。除外干扰和胆芯器件损坏之外,尚有如下原因:
a、整流管接触不良。当晃动整流管时杂音随之而变,则是管脚接触不良的表象。可用四氯化碳清洗。并用小镊子将管座夹片拨紧,故障即可排除;
b、滤波电阻R接触不良。用于滤波的电阻R种类较多;因而发生故障的部位也不同。对碳质电阻而言,多是引出线接触不良或焊接点脱焊造成胆芯杂音。此时,用木质或塑料绝缘棒拨动或敲击R,杂音随之变化则是上述R虚(脱)焊的表征;对酚醛或瓷基线绕电阻,则多是电阻丝匝间打火引起的杂音。此种故障可用“望”诊法或代换法予以确认;
c、电源变压器引出线(片)接触不良或脱焊。万用表置交流适当的量程档位,两表笔先后夹接在整流管两阳极(A)与底盘之间,尔后用绝缘棒(忌用导电棒如改锥等拨、击)拨动电源变压器各引线,如拨至某点(片)时,杂音和表针随之变动,则说明故障点即在此处。细心焊固杂音即可消除;
d、电源插头、座和机内多头(口)插接件接触不良或电源线折断(似接非接)等,均能引起杂音。用摇动、敲击法顺藤摸瓜均能找到故障点。
③音小、失真。此类故障在电源部分常见的诱因有:
a、滤波电容C1、C2(见图1)漏电。其表征和检修方法如前述,在此不重说;
b、整流管老化。整流管用久了或原本质量就欠佳,就会因阴极放射电子的能力衰弱而造成整流输出电压+B1、+B2下降。判断整流管衰老的方法有五种:一是用电子管测试仪测板流,如指针在“红区”之下就说明管子已衰老得不能用了;二是用代换法测+B1、+B2。用一只同型号新管代换老管,如测得的+B1、+B2能升到正常值,且“胆”芯放音恢复正常,就说明原管已经衰老;三是用“望”诊法观察整流管玻壳,好管子的顶部呈银黑色,在强光下有七色光溢出;玻壳的其它部分则清晰透明。衰老的管子几乎全部玻壳都呈银黑色,甚至连管内的屏极结构亦模糊不清(这是管内吸气剂不断蒸发,吸着在板极表面所造成的);四是用“切”诊法摸管温。正常的整流管在开机十分钟后触之有烫手感,老化的管子只有温热感而无灼热感;五是用上述检查C1、C2的“火花法”判断整流管的衰老程度。正常的整流管其火花和“啪啪”声大,若火花和声响都较小,查滤波电容又良好,则是整流管衰老了。对已衰老的整流管最好选用同型号新管代之。倘找不到同型号新管,也可用同类管做“应急”处理,但应特别注意管脚对应脚号要与原机相符。另外,还可将已老化的管子进行阴极“激(复)活”处理。其方法是:取下电子管对灯丝作超压处理(切忌不拔电子管作在线升压,以防损坏其它的好管)。施加的灯丝电压值一般为原值的10%~15%,最高不要超过20%。对老管灯丝加高压“老化”1~2小时即可上机再用。这种方法是“死马当活马治”,“复活”了还可再用,损坏了也不心痛。
④全无声。此故障可能在电源部分的原因有:
a、滤波电容C1、C2短路(已如前述);
b、整流管损坏。常见的有:灯丝断、碰极等;
c、电源变压器故障。常见的有:初、次级漏电,初级或次级局部短路。
C1、C2或电源变压器短路,常常会发生连锁反应,造成多处元、器件损坏。因此,在处理全无声的病机时,一定要注意进行综合分析判断。
(2)功放
①无声或音轻:除电源原因之外,在功放级的诱因可能是:
a、功放管内电极碰连:当“胆”芯长期处于“半病态”过荷下工作时,容易产生屏极过热变形,使其局部向内或向外凸起(FU-5常见),造成屏、栅相连,或屏极与栅极、阴极的支架短路(FU-811较多见),以致屏流猛增,高压过载而熔断保险丝。上述故障常见于三极管或四极管等用金属做屏极的功放管中;其次是吸气剂等形成的氧化物堆积型碰极;第三是运输颠簸型碰极。以上碰极会导致过流烧保险,造成屏压加不上而无声;
b、输出变压器断路或变压器屏极帽与功放管阳极接触不良;当输出变压器To的初级发生开路故障时(如图2A点开路),会造成功放Va、Vb无屏压而无声;To的D点或E点开路时,导致单管工作失真增大(削顶失真);屏帽Ca接触不良同To之D点开路,屏帽Cb接触不良同To之E点开路;
c、输出变压器To短路性故障:当To的初、次级短路时,如图2中的,B点或C点短路,均会导致直流电源+B短路,而造成无声。
d、功放管老化:功放管失效或老化是造成音轻(输出功率Po下降)的重要原因。判断功放管衰老与否的常用方法是:其一,测量功放管的静态工作电压并做好记录,然后与说明书或手册上给定的典型工作状态相对比,进而对功放管是否衰老作出判断。;其二,测量功放管的阳极电流Ia,这是判断功放管是否工作在最佳状态和电子管是否衰老的重要手段之一。对工作在甲乙1类(AB1)的自给偏压功放电路而言,可以通过测量阴极(K)与地之间接入的偏置电阻Rk上的直流电压Uk,尔后再运用欧姆定律换算出Ia(=Uk/Rk)。例如图20所示的2×25W仿美国“胆”芯,当测得V2、V3阴极200Ω电阻上的电压为22V时,则可算得两管总屏流2Ia=22V/0.2KΩ=110(mA),每管屏流约为55mA。对于工作在甲乙2类(AB2)或乙类(B)的功放电路而言(如图14所示的150W“OK”国“胆”芯),由于其栅极采用固定偏压供电,阴极K同时接地而无Rk电阻,所以Ia可通过测量屏极抑制电阻R39~R42之一上的电压Un,而后经换算取得Ia值。如测得R39上的电压,Un39=10V,则流过V7管的Ia=Un39/R39≈0.2A。其它V8~V10的Ia测量法同V7。对无抑制电阻、阴极接地的甲乙2类或乙类功放Ia的测量(如图2),就只好直接施术了。方法是:停机,在图2的A点或D、E点断口处,通过鳄鱼夹将适当量程的电流表(可用万用表DCA代之)串入其内,而后开机读取Ia值(注意预热期不得低于30秒)。
在功放管各极工作电压均正常的情况下,如用上述方法测得的屏流Ia小于正常很多,就说明管子已经衰老。如前所述,衰老的电子管比正常管管温要低得多。用手触摩管身,其温感可对功放管是否老化做出更准确的判断(其它鉴别法同上述整流管)。
若Ia高于正常值,则可能的原因是:其一,屏压或帘栅压超限;其二,功放管自身质地欠佳引起超耗。此种管子能否继续使用,要看工作时屏极是否发红而定,其三,电极变形或异位,从而使极间距离缩小导致Ia上升。以上种种Ia偏高现象,势必会造成屏耗增大,输出功率Po减小,音轻现象自然亦易于理解。
e、栅偏压失常:对自给偏压电路而言,栅压失常的原因有:
偏压Ugl=0的原因:其一,输出变压器初级中点供电电路开路;其二,阴极自偏电阻Rk开路。其三,Rk上并联的滤波电容短路;其四,推挽管双双失效(少见,但甲类自偏压电路则常有发生)。上述其二、其三故障会导致Ia猛增。
偏压Ug1偏低的原因:其一,屏压或帘栅压过低;其二,功放管之一老化等偏压Ug1偏高的原因:其一,屏压或帘栅压因调整不当而变高;其二,阴极电阻Rk短路(此时用万用表能测到偏高的Uk值,这是因为高内阻的万用表代替了Rk之故);其三,栅极耦合电容击穿短路,从而造成正栅压而使Ia上升产生Ug1增高。
f、元件变质:当屏极负载电阻或抑制电阻变质增大时,会造成静态负载线压低而使输出功率减小。
②失真:失真是“胆”芯的常见故障之一。可能的原因有:
a、工作状态失常;
b、推挽管之一老化;
c、元件损坏、变质造成不对称推挽工作。如输出变压器单边开路、抑制电阻之一开路、激励级阳极电阻变质增大等。
(3)电压放大、倒相级(激励级):功放级的输出功率一般都在几瓦、几十瓦、几百瓦甚至上千瓦,而音源信号电压却是毫伏级,可见,功放与音源之间必须设置若干级放大器。这些中间放大器统称为推动激励末前级。根据功放电路不同结构和类别,其末前级的组成和任务也有所不同。对工作在甲类和甲乙1类的功放电路(小功率“胆”芯),由于在最大功率输出时自身不产生栅流,所以它只要求电压作推动信号;而工作在甲乙2类和乙类的功放电路(大、中功率“胆”芯),在最大功率输出时末级有栅流产生,因此它要求功率推动。
对末前级放大器的基本要求是:失真小、S/N(信噪比)高、频率特性宽广而平直、稳定性好、激励电压或功率足够大且满足末级对信号的相位要求。末前级常见的故障是:
①音轻和全无声。其主要原因是:
a、工作状态失常:在甲乙2类和乙类功放的功率型激励器中(下称“准”功放),当发现其帘栅极电压消失、且伴有功放管帘栅烧红现象时,则多半是输出变压器To的中心点(如图3中的A点)或半边绕组开路(如图3中的D、E点)。V10的G2发红是D点断,V12的G2发红是E点断,V10、V12的G2同时发红是A点断。自偏压电路故障,如图3中的R31或R32开路,其相应管的屏流消失,除音量减小外,还伴有大失真。此时在开机测偏压时比正常值高很多,关机测电阻接近无限大。
b、倒相电路故障:倒相电路的程式一般分为四类:
第一类,变压器耦合倒相电路,如图3、图4所示;
第二类,阴极耦合式倒相电路,如图5所示。该倒相器又称“剖相式倒相电路”;
第三类,分压式倒相电路,如图6所示;
第四类,自动平衡式倒相电路,如图7所示。
“胆”芯所用的倒相电路不同时,其同类故障时“病灶”点亦不同。对“第一类”倒相器而言,常见故障是输入变压器初级开路造成信号无通路产生全无声。可以通过“信号注入法”或“敲击法”予以甄别。第二类倒相器常见故障是V1负载R4变质增大造成音轻。“测压法”可鉴别。第三、四类倒相器常见故障是信号导入管(图6、图7中的V1)老化、断丝、管座接触不良、无屏压和阴极自偏电阻开路而造成无推动电压输出,进而引起全无声。
C、元件变质或损坏:其一,输入变压器B1(见图3、图4)次级单边损坏(如断路或局部短路),会产生音轻和大失真故障。可在B1初级注入音频信号(1kHz),用万用表AC10V档测B1次级的双边信号电压UR和UL。完好的B1其测量值应相等,即UR(右)=UL(左);若UR≠UL,则说明B1次级有故障;其二,电压放大器与推动级的耦合电容(如图3中的C25、C26,图5中的C3、C4图6和图7中的C2、C3)之一开路或失效,都会引起音轻和失真;其三,屏极旁路电容(如图3中的C31、C32)击穿,也会导致输出功率下降或全无声故障(C31、C32同时击穿也不少见)。
②交流声(含杂音)。交流声的主要“祸源”是整流滤波器(见前述“电源”一节),但在末前级故障时也能激发交流声:
a、输入变压器BI安装位置不当。BI虽经屏蔽,但“胆”芯的电源变压器TB和电子管(特别是后级的功放管)之漏磁或放射磁场仍可“钻”入BI,经前置级和功放之大后形成较强的交流声和杂音干扰。对成品整机,工厂已对BI的最佳位置做过选定。但对“烧友”的“造机”或“摩机”,BI的安装就不一定特别“考究”。为了取得“造机”、“摩机”的最小干扰,在安装B1时可借助毫伏表(如GB-9B)选位。方法是在“胆”芯的输出端子接入GB-9B,左右前后挪动、转动BI,至GB-9B读数最小为止,然后再打眼(孔)将B1装牢。
b、电阻杂声。电阻是一个“噪声源”,建议“胆”芯选用小噪声系数的金属膜电阻;
c、电子管老化杂音:电子管用久了,其参数会明显变坏,从而产生噪声;
d、连极噪声:电子管阴极和灯丝相连时会产生很强的交流“嗡嗡”声。测量阴极电压大大低于正常值为表征;
e、接触噪声:管脚与管座接触不良或元器件虚焊、脱焊时也常常引起噪声。可用“敲击法”予以甄别;
f、平衡交流声:平衡式灯丝供电电路,如图8所示。当图8(a)之A.点断路或图8(b)中的A点接触不良、RP变质或虚焊时,均可导致交流声产生。
③啸叫。啸叫是电路自激的表征,常见“病因”有:
a、高频抑制电路故障引起的啸叫:如图3中的R33开路或C33开路、短路均能引起啸叫;
b、负反馈电路故障引起的啸叫:如图3中的R34、R35或c34、C35变质或损坏,均能引起啸叫;
c、用高u锐载止五极管(如6J1,6J8P等)做电压放大器时,当其布线不良或阴极电路故障时,也常会产生啸叫噪声;
d、五极管电压放大器屏极或帘栅极退耦电容开路或失效,也啸叫。
④失真。失真在推挽式末前级里常不是单独出现的,它总是伴随着音轻、交流声、啸叫等故障而同时存在。在推挽电路中,为了减小失真,上下电路要求全对称,所以任何失衡的因素都会导致失真。如一臂一管失效、交连电容变质、屏阻之一增大等等。在存在电位器调整的推挽电路中,因电位器变质、失衡也会造成失真。在甲类单端电压放大器中,失真多数是因元器件变质造成工作点漂移所致。
栅漏电阻(如图5、图7中的R1、R5、R6)变质或开路,也会失真。
级间耦合电容(如图7中的C2、C3)之一漏电,也产生失真。检查方法:断开B点(见图7),万用表置DC250V档,红表笔接断点B左端(即C2的右侧),黑笔接底盘。若此时万用表指针有读数,便说明C2已漏电了。完好的耦合电容规格应是0.01uF(10nF)~0.47uF/400V,用万用表R×1OK档测量非在线(单独测)电阻值不应小于20MΩ。
以上是“胆”芯部分常见故障的检修法,实际上遇到的故障远不及此。要真正地掌握“胆”芯的维修技艺,则必须认真学习有关电子管的基础理论知识,并深入到打、摩、造胆的实践中去。“入门既容易,深造也是能办到的!
二、常见胆机电路简介

1、图9“胆”机:该机是仿英名“胆”《QuadⅡ》型机“摩”制的,其特点是:
(1)末前级选用了与图6相仿的“分压倒相式放大电路”。其优点是:其一,放大、倒相“合二为一”,使电路十分简洁;其二,电压增益高。图9中的电压放大管V1和倒相管V2均选用了低噪声、高u欧式小九脚电压放大五极管EF86,它的同类型号有:6J8(中国)、6CF8、CV2901、Z729、6SJ7、6267、6AU6(类同)等。总增益为50dB左右,激励后级功放管V3、V4(2×EL34)足足有余。由于电子管屏极输出的电压信号与栅极的输入信号相位差为180度(反相)。当把V1的输出信号(即V3的输入信号)通过耦合电容C3而加到V3的栅极(⑤脚时)时,经R10、R9、R5分压并取出一部分(R9和R5上的电压)加至倒相管V2的栅极(⑨脚)后,V2的输出信号又反相180度,并通过C4耦合成为功放管V4的栅极(⑤脚)输入信号。于是,在V3、V4的栅极就得到了两个相位相反的功放级激励信号,完成了倒相任务(相位演变关系请参见图6)。
(2)《QuadⅡ》原型机的功放管V3、V4为标准欧式管KT66,打“摩”后改用“曙光”EL34。两只EL34组成甲乙1类超线性推挽功率放大器。
工作状态:Ea=450V,Ua=430V,Ia=2×60mA,Vg2=440V,Uf=6.3V,If=1.5A,Uk(Ug1)=|-29V |,
Po=2×34w(与“胆”机2×30W“黄金功率”相近)。
(3)关键元器件:
a、输出变压器T2:vacuums-Go×50/5.5-1(Sc=32×48mm)
b、电源变压器:vacuums-Gom×350
c、无极性电容:XINDAK/H系列CBB(ForAudio)Hi-Fi/400V专用品
d、电解:电压400V的采用彩电电解,350V的采用闪光灯电容。

2.图10胆机介绍:
(1)倒相电路由两只同型号中u双三极管(12AU7A)并联,组成“长尾式共阴差动倒相放大器”。利用电路的差动特性,产生两个相位差180度、幅度相同的推动信号,用来推动末级功放推挽电路。
(2)末级推挽功放采用固定偏置,阴极引入AC/DC“浅”反馈,使其工作稳定、保真度提高;工作状态为甲乙1类,P0≥2×30W。
(3)电源采用晶体管整流,结构紧凑,自耗下降。
(4)T2/T3的阳极负载R7(27KΩ)≠R6(33KΩ),使其差动特性失衡造成的不对称输出得到补偿。
(5)T4、T5采用低栅漏电阻(2×47kΩ),以提高电路的稳定性,同时功放管的安全性更好;但低栅漏造成的“危害”(如Ku↓,Kf↑等正好由前级并联使用的T2、T3给予补偿。

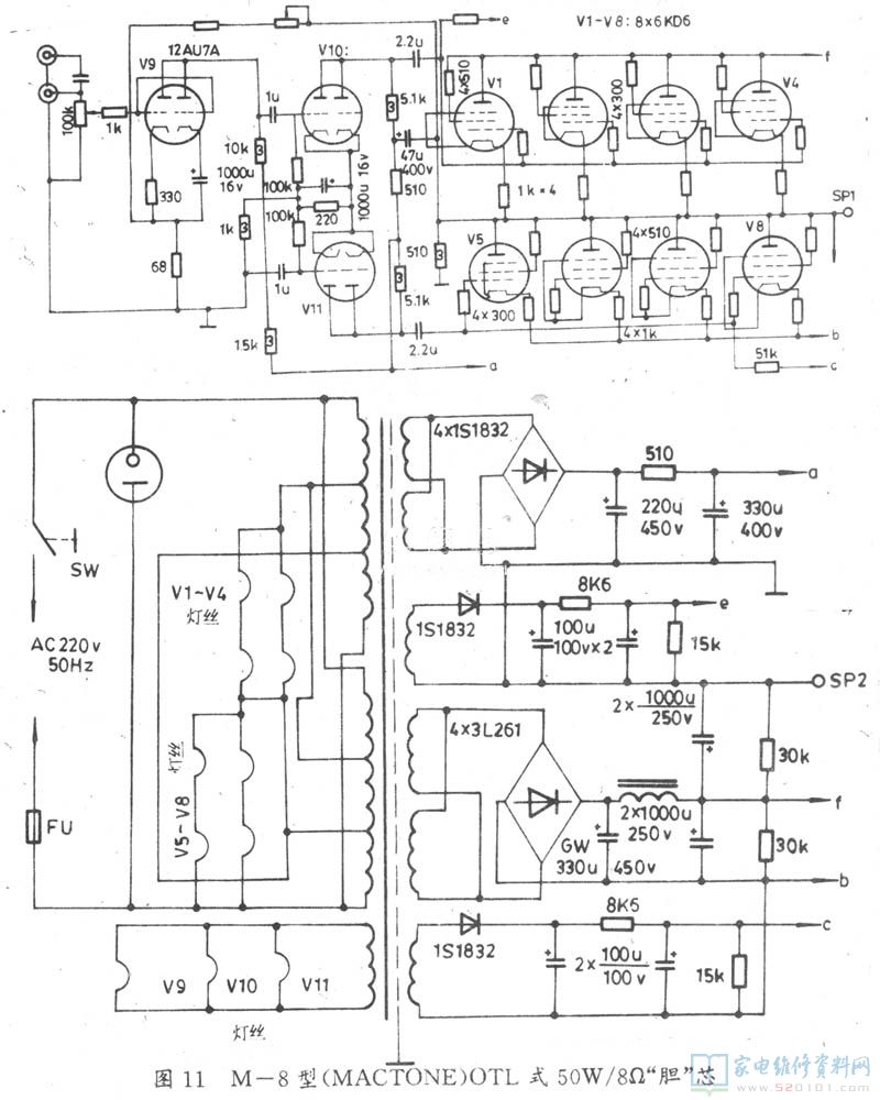
3、图11胆机介绍
(1)OTL电路组合,每臂用4只6KD6并联,取得低阻直接与扬声器配接,免去了笨重而昂贵的输出变压器。
(2)输出功率大(Po=50W),频率响应宽(RL=8Ω,P0=50W,NFB=6dB,f=10Hz~100kHz)。

4、图12胆机电路介绍:
(1)每个声道只用三只电子管,电路十分简洁。三极五极管之半(五极部分)担任输入电压放大;另一半(三极部分)组成与图5类同的阴极耦合式倒相电路,为末级提供反相而平衡的激励信号。
(2)末级具有图9甲乙1超线性和图10阴级浅反馈双重特点。
(3)接有负反馈简易电路(R18=5.6kΩ)以进一步提高保真度(反馈量约10dB左右)。

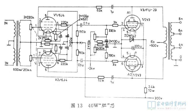
5、图13胆机电路介绍:
(1)功放选用“北京牌”高“靓”双束射四极管接成甲乙1类,功率Po≥40W。典型工作状态如下:Uf6.3V,If=2.25A,Ua=600V,Iao=40mA,Ia=0.11A(满信号电流);Ug2=200V,Ig2≤4mA,Ig2m≤18mA,Ug1=-18V(定偏式),Ugp-p=36V,Ra-a=13.75KΩ。
(2)推动级用6J4构成变压器耦合自反馈稳定式倒相电路,以取得平稳的激励电压;功放的帘栅采用Vz=200V的晶体管作稳压器。
6、图14胆机电路介绍:
(1)由前置电压放大(V1)、混合放大(V2)、电压放大(V3)、推动(V6)、倒相(BI)和并联推挽功率放大器(V7~V10)组成。
(2)前置放大V1(话筒放大器)灯丝采用低压供电(由6.3V降为5V),这样有利于交流声的抑制;拾音放大和混合器V2(6N2)的灯丝电压亦同(Uf=5V)。
(3)末级的推动级V6(6P6P)为甲类放大器,并由BI完成倒相任务。
(4)末级功放(V7~V10)由四只束射四极管FU-7(807)构成甲乙2(AB2)类,以保证Po>100W。
(5)功放级接入的R35~R42的抑制电阻,可以有效地消除功放并联产生的寄生振荡。其标准工作状态是:Ua=630±10%,Ug2=265V,Ugl=-35V。
(6)有单独的AM中,短波收音头。
7、图15胆机电路介绍:
与图10类同,只是推动级TB2采用了单管(12AU7),末级还加入了一只“超线性”转换开关S5/S6。
8、图16电路介绍:
(1)功放级V3、V4用“北京牌”功放管6P14。实践证明,该管做推挽功放,其音质之“靓”,比原装进口胆EL84、6BQ5、6Y114Ⅱ等有过之而无不及!
(2)6P14做三极管接法,其甲乙1类典型工作状态是U1=300V,Iao=48mA,Ia=52mA(满信号时),阴极自偏压电阻RK=270Ω,UgP-P=20V,Pom≥5W,Ra-a=10kΩ,Kf≤2.5%。
9、图17电路介绍:
(1)具有高、低音两个频道,分界频率值1kHz。下面一路为高音通道,工作频带约为1~15kHz。上面一路为低音通道,工作频带约为30Hz~1kHz使用晶体、磁电唱头或放CD时。高音道输出功率Poh≥2W。;低音道输出功率POL≥8W。
(2)高音道两级电压放大器间,加入了两节RC高通滤波器,使1KHz以下的音源频率得以有效抑制,两级放大器阴极(K)均接有1KΩ的AC/DC“浅”反馈电阻,使该音道的稳定度提高,失真减小。V2(6P1)和第二电压放大器(1/2V1)阳极间的0.1uF电容和10KΩ电阻,可减少失真。
(3)低音道的前置放大共有三级。第一、二级间接有两节低通滤波器(51K和510K电阻及2×2n电容),用以旁路1KHz以上的高音频和减小失真。倒相器(后1/2V4)采用阴极耦合式,又称“剖相式”或“分负载式”倒相电路,(与图5所示的电路相同)。这种倒相电路的优点是失真小、频响好、工作稳定度高。
10、图18电路介绍;
(1)胆管选用“北京牌”优质管6N2、6P1。
(2)为了改善输出特性和减小失真,末级和激励级(后1/2V2、6N2)间接入了正反馈模块AMA125,它有四条引线:右上角为绿线接6P1的阴极(③或⑧脚),左上角为红线,接6N2⑧脚,下面两条白色线接地。
(3)V2、V3灯丝绕组间接入了100Ω/10W的线绕电位器,用以平衡交流声。
11、图19电路介绍:
(1)输入放大器(V1)选用高u低噪声双三极管12A×7(同型号国产管为6N4J);倒相和功放级采用Hi-Fi专用三极~五极管ECL86C6GW8)。其性能:三极管部分同12A×7,五极管部分同6BQ5(国产型号为6P14)。每声道只用2 1/2只胆管,便可组成一路Po≥10W的优质放大器。该“机”具有电路简单、取材方便、易装易调、性价比高等优点。
(2)ECL86出“靓”的典型工作状态:
Uf=6.3V,If=0.7A,Ua(三)=250V,Ua(五)=300v[注
脚(三)表示三极管部分,(五)表示五极管部分,下同]。Ia(三)=0.
7mA,Ia(五)=35mA(单边),Vg2(五)=280V,Ig2(五)≤8.5mA,u
(三)=65,Ra(三)=220K,Ra(五)=10K,Po(五)=13.5W,Kf
(三)<0.5%,Kf(五)<3%。
(3)倒相电路为“长尾式”(与图10类同)。
(4)电源变压器BT之PpC≥100W,次级230V,电流输出能力为180mA,输出变压器为OPT-15-10型15W成品。
12、图20电路介绍:
(1)该机为仿美A330胆机。
(2)6N1作前置电压放大和剖相式倒相级(与图17低通道同),频响平直、失真小。
(3)状态指标:Ua=360V,Ia=45mA(单管)Ug2=270V,Ug1=-2.25V,Ugp-p=45V,Iam=0.13A,P0>25W(单道),Kf<2%。
13、图21电路介绍:
(1)无电源变压器,使成本降低,重量和体积减小,能耗降低。
(2)6N8作电压放大,变压器倒相;四只6P3P两两并联组成推挽功放。两路负反馈电路(图21中的27K和270K),电路稳定。
(3)该机的主要电气指标是
a、灵敏度≤0.5V,
b、通频带:50Hz--12KHz,
c、输出阻抗:8Ω/16Ω(由输出变压器决定)。
d、Po>40W,Pom不小于60w,
e、Kf≤2.5 o/(f=1KHz时测量)。
14、图22电路介绍:
(1)功放级V2的型号为300B,它是一种内阻极低的古典直热式功率三极管。由于300B具有“脱俗”的直线性,所以用它制成的放大器能获得醇浓细腻清澈透明和胆味十足的“还原”音源声。300B在世界各国的“胆”机“发烧友”中,都享有极高的评价。300B的同类型号为NL-50,4300A等。300B工作于纯甲类状态,Uf=5V,If=1.2A,Ua=300~360V,Ia=60mA,Ug1=-60V,Po≈6~10W。
(2)推动级为310A五极管(栅帽式),Ua=70V,Ia=3mA,Ug1=-3V。
(3)高压整流采用直热式5U4G型双阳全波整流管。整机十分“简洁”(只用三只“胆”管),但确能表现出超常的“靓”音效果。
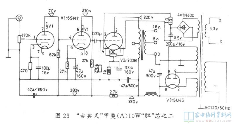
15、图23电路介绍:
推动级6SN7GT(与6N8P类同),输出级与图22类同。
16、图24电路介绍:
(1)这是一款纯甲类音频放大电路。前置电压放大由国产双三极管6N11担任。6N11被国人誉为“国产精品”。它是一只低噪声、中u标准小九脚玻壳管,一半用作音调电压放大,另一半用作功放推动级。6N11阳极负载的大小对自身增益和通频带都有影响:负载阻值取大时,其电压增益Ku上升,但通带却变窄;反之亦反。该“芯”采用了“舍前取后”的设计方案,两只阳极电阻均选用较小的阻值(68k)。这时,通频带在10Hz~100kHz区间没有明显的起伏、波动(高频“顶端”至20kHz足矣)。
(2)两级电压放大器间的音控电路的控频参考值为1kHz。该网络对高、低音调的调节分别为10dB和12dB以上。
(3)功放由“曙光牌”6P3P国产管充任,最佳工作状态是:Ua=250V~300V,Ug1=-16V,Ia=65mA,Ig2<12mA,Ra=3.3k。
(4)输出变压器可选用“金牛牌”Go×30A-35成品,也可自制。
(5)电源变压器TB用老式电子管机上旧品,要求次级电压为2×230VAC以上,电流不小于70mA。
(6)整机总体指标:RL=8Ω,Po=8W(当Ua=250V时,Po=6.5W;Ua=300V时,Po=10W),频率响应:30Hz~22KHz(±3dB),Kf≤1.5%(f=1KHz,Po=1W时),S/N≥96dB,静耗Pc≤55W。

17,图25电路介绍:
(1)选用发烧界知名度颇高的813管作功放级。813为美式管,日制管为4B13,苏式管为Fy-13,国管为FU-13。上述各管的功能类同,但管脚排列有异。
(2)倒相器为变形自动平衡式倒相器,与图7类同。
(3)用813制作甲乙1(AB1)类功放时,最“靓”声的典型工作状态是:Uf=10V,If=5A,Ua=1.5KV,Iao=50mA,Ia=305mA(满信号屏流),Ug2=750V,Ig2=45mA(满信号帘栅电流),Ug1=-85V,Ugp-p=160V,Po=260W,Ra-a=9.3K。(注:束射屏电压为0V)。








网友评论