朋友拿来一台扬声器口径为6英寸的播卡低音炮(原用在汽车上,供电电压为12V),要求为其加装一个电源电路,以便将该机放于卧室内使用。

         找到一只舌宽为19mm,叠厚为45mm的变压器。由于变压器没有标注次级输出电压,于是在初级接人市电,测得次级输出电压为AC12.5V,估计整流滤波后电压在15V左右。接着从废旧电磁炉主板上找来整流全桥,再买来两只2200uF/25V电解电容,组成电源电路,如图1所示。实测该电源输出的直流电压在空载时为16V。接入低音炮试验,在小音量状态下,该电源输出电压约为15V;在中音量状态下,电源输出电压在13.5V左右波.动;在大音量状态下,该电源输出电压在12.5V左右波动,这说明变压器功率基本能满足要求。改装好后,朋友很高兴地拿回了家。

        约两个月后的一天,朋友说原低音炮在小音量时的音质难听,中等音量或大音量音质尚可。笔者闻此言后心想这怎么可能呢?因为小音量时,电源负载最轻,电源电压波动最小,则信号畸变最小,音质应最佳;在中等或大音量时,电源输出功率变大,输出电压下降,易引起输出信号失真,从而导致音质变差。试听低音炮后,发现在小音量状态时声音发涩、发干。在采用晶体管推挽输出功放中有一只功率管不工作的故障现象与此相似,但将音量调大后音质又自动变好,这真奇怪!

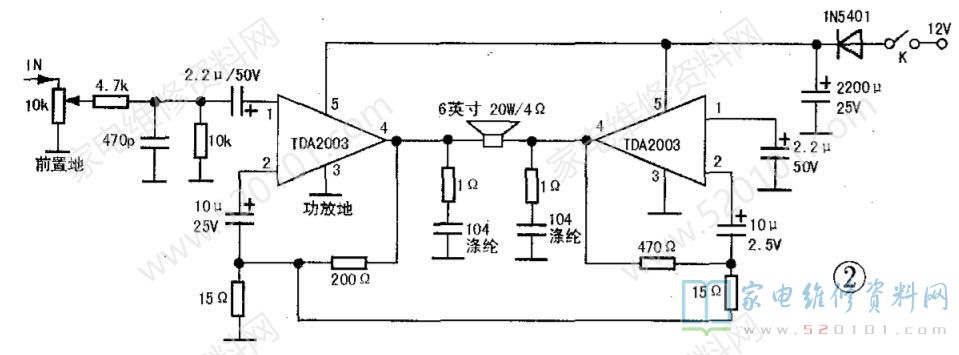
        拆开低音炮,取出电路板,发现其功率输出部分采用两只TDA2003组成BTL电路,实绘电路如图2所示。

        先对功放电路中的电阻、电容进行测量,未发现异常,接着测量供电电压,在小音量时为17V,中等音量为15.5V,大音量时为14V。静态时测变玉器次级电压已不是原来的AC12.5V,而是AC14.3V。该电压升高的原因如下:两个月前恰逢热天,开空调的很多,笔者维修店中市电电压下降得较多,而9月份用电量下降,市电电压恢复正常,这时用此电源电路输出的直流电压自然会上升。该电源输出的直流电压现已升至17.4V,离功放块TDA2003的18V极限电压仅差0.6V。是不是因TDA2003在小音量时处于间歇过压保护状态造成音质变差呢?为证明这个判断是否正确,撤去加装的电源,接入12V稳压电源试机,故障消失,看来判断正确。

        接下来进行处理,拆开变压器次级线圈外的绝缘胶带,分出线圈的头和尾,将万用表的一只表笔接线圈头所在的引线上,另一只表笔刺破最外层漆包线进行测量。当测得电压值为AC10.5V时,从该点引出一根线作为次级线圈的另一端。最后焊好整流滤波电路,测得其静态直流电压为14.5V,此时电源电路如图3所示。接上低音炮试机,故障排除。