为提高效率,一般安装卫星天线都是正装。但如遇上东南或西南方有较高障碍物阻挡,而又没有其他合适的地点避让时,采取倒装法往往能起到很好的效果。 

        倒装天线一能降低天线高度;二能使天线有效接收面积更大;三能大幅提高仰角,增强抗风能力。此外,天线不需要放得很高,尤其适用于室内和阳台安装。特别是在室外能使天线变得更容易安装。 

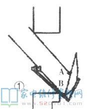
        倒装很简单,以正装为参照(见图1),把锅和头一起旋转180°,底座和连接件均不动,头在上方,天线仰角=卫星仰角+偏馈角(见图2),其他调试方法同正装。但需要注意的是,目前市场上的天线良莠不齐,价格质量相差甚大。个别天线,若作正装,尚可将就,但欲倒装,就不一定能用了。

        若把天线挪到室内,就现有居住状况来看,难免有些碍手碍脚。为便于寻星,一定要做好标记,下次使用时放在标记处就可以了,白天不看时收起来,晚上看的时候拿出去。实践证明,此法较固定法虽略嫌麻烦,但只要细心一点就行。 
        用于倒装的天线直径,从原则上讲,当然是愈大愈好,如45cm中卫天线在室内接收,信号质量只有38%,而60cm中卫天线在室内接收,信号质量可达70%。 
        同正装一样,倒装既可单星接收,也可用于一锅多星接收,以中卫75cm偏馈天线为例,现在笔者将方法整理出来供参考。 
1、先把天线后面的圆弧形金属卡片上面的小挡片(用来挡住竖轴的)朝下安装。 
2、看好地形,选好安装位置后,把天线固定好,安装好高频头,粗调极化角。如果想一锅双星,为避免顾此失彼,建议两颗星间距不要相差太远,如收76.5°E的亚太2R或78.5°E泰星2/5号就比较合适。 
3、设好数据,先调亚太2R卫星:输入东森亚洲新闻合参数;下行频率12528,符码率30000,极化方式V,22KHz开关设为开。之所以没选大家熟悉的西藏台,而选信号弱一点的东森新闻台,是因为若该台能调出,则其他频道就不在话下了。调毕,再输入DLTV台的参数:下行频率:12272,符码率:30000、22kHz:关,极化:H,用手拿着高频头对星,注意此时身体应避开天线正面,尽量不挡住信号,找到信号后,用适当粗细的铅丝弯成两个八字形,将两个头固定在一起,开始细调,当信号质量达到80%时,再启用自动搜索功能。当然,若能找到适用的多Ku高频头夹具则更简单。
4、量仰角:需注意的是,偏馈天线正装时,应减去角度差20°,而倒装时应加上角度差20°才是实际测量的仰角。正装和倒装相差40°。 

5、最后,再反复细调方位角、仰角等,至信号质量为最大值后予以固定,安装结束(见图3)。

        需要说明的是,两个高频头的相对位置不论正装还是倒装,也不论主收哪颗卫星,如全部为单或双本振,无甚讲究。若单双混用,应该是单本振高频头在左下侧,双本振头在右上侧(以人面对锅面,相对于另一个高频头而言)。 
        为加快调试的速度,建议正装熟练后再练习倒装。