概述:M680021P是一块存储器(EA-ROM),它采用双列直插8脚和10脚封装工艺,供电电压=4.5~5.5V,供电电流=18mA,工作温度=-10~70℃,储存温度=-40~125℃。它可以用较容易买到的M6M80011P来直接代换。
一、M6M80021P引脚功能
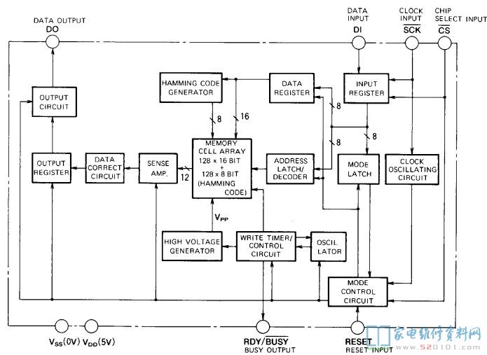
二、M6M80021P内部方框图
概述:M680021P是一块存储器(EA-ROM),它采用双列直插8脚和10脚封装工艺,供电电压=4.5~5.5V,供电电流=18mA,工作温度=-10~70℃,储存温度=-40~125℃。它可以用较容易买到的M6M80011P来直接代换。
一、M6M80021P引脚功能
二、M6M80021P内部方框图
网友评论